
Fujifilm filed patent applications for Fujinon 20mm f/2.8 GFX, 15mm f/2.8 APS-C, and 40mm f/2 FF optical systems that have been reproduced below:
overview
- [Publication number] P2025086741
- [Release date] 2025-06-09
- [Title of invention] Imaging lens and imaging device
- [Application date] 2023-11-28
- [Applicant]
[Identification number] 306037311
[Name or company name] FUJIFILM Corporation - An imaging lens that is compact and maintains good optical performance, and an imaging device that includes this imaging lens are provided.
- 2. Description of the Related Art
Conventionally, an imaging optical system described in Patent Document 1 below has been known as an imaging lens that can be used in imaging devices such as digital cameras. - [0004]
There is a demand for imaging lenses that are compact and have good optical performance, and the level of these requirements is increasing year by year.
- Focal length: 20.68
- F-number: 2.89
- Angle of view: 99.8
- Back focal length: 11.51
- Focal length: 22.76
- F-number: 2.89
- Angle of view: 94.4
- Back focal length: 9.75
- Focal length: 24.59
- F-number: 2.88
- Angle of view: 88.6
- Back focal length: 12.71
- Focal length: 18.64
- F-number: 2.89
- Angle of view: 108.2
- Back focal length: 9.31
Example 13 (APS-C?)
- Focal length: 15.21
- F-number: 2.88
- Angle of view: 95.4
- Back Focus: 10.84
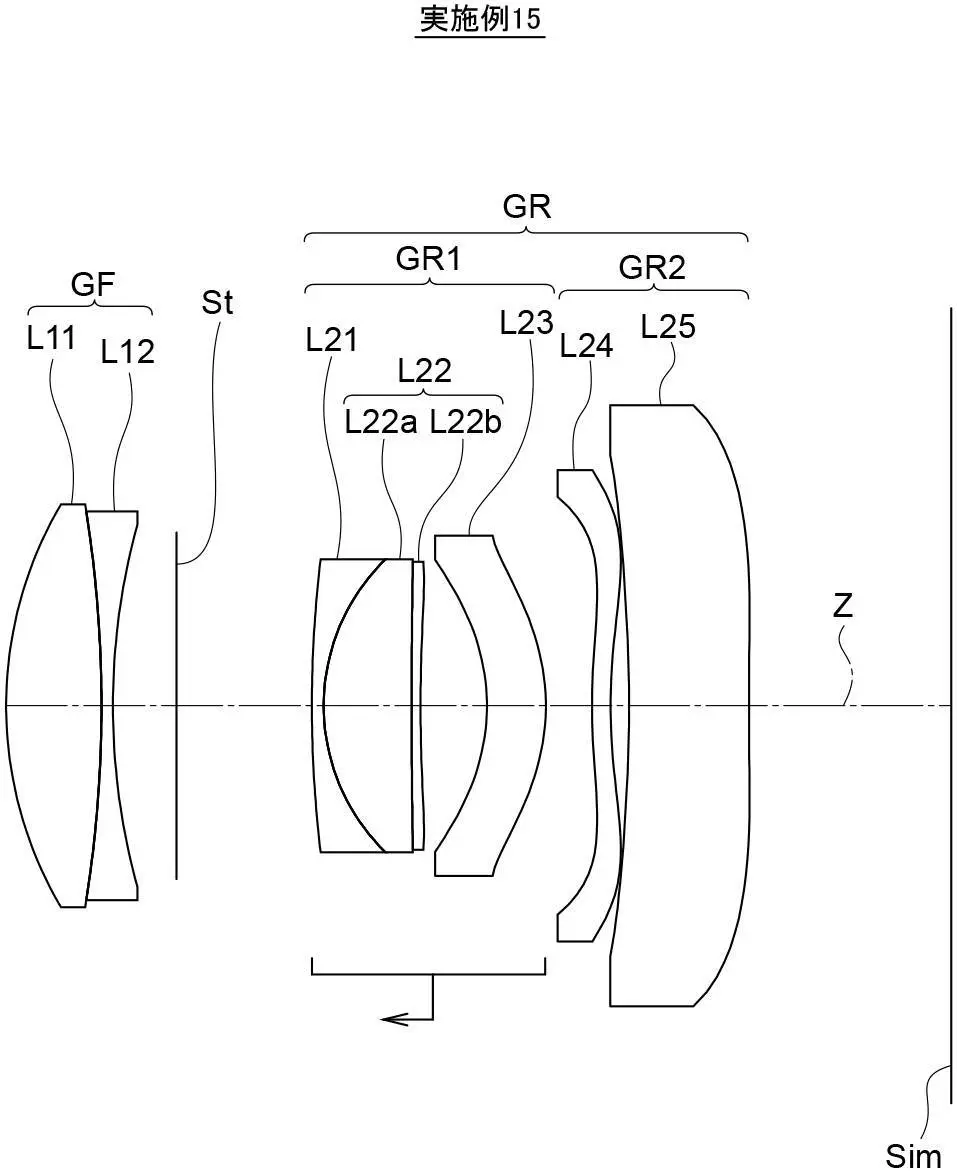
- Focal length: 16.31
- F-number: 2.91
- Angle of view: 91.2
- Back Focus: 11.12
- Focal length: 40.36
- F-number: 1.86
- Angle of view: 57.6
- Back Focus: 10.95
- Focal length: 35.29
- F-number: 2.07
- Angle of view: 64.4
- Back focal length: 10.44
via asobinet







